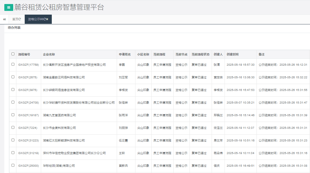
2025.5.19



一、以上申请高新区公租房小区的单位及人员已经通过初审、复审审核,公示时间为7天,请于公示期截止后携带纸质申请表格及申请资料(复印件需加盖公章)到长沙高新区公租房客服服务中心办理后续手续,逾期将不予受理。
二、初次办理公租房申请的单位可拨打以下电话与公租房客服中心工作人员联系咨询后续相关办理事宜。(创智汇:88222826;尖山印象:88460511、88460917;麓城印象:88840068)。
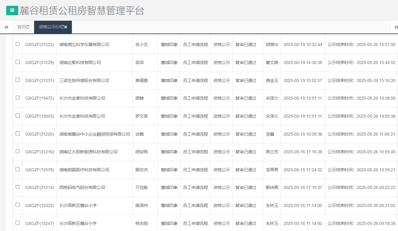
2025.5.20



一、以上申请高新区公租房小区的单位及人员已经通过初审、复审审核,公示时间为7天,请于公示期截止后携带纸质申请表格及申请资料(复印件需加盖公章)到长沙高新区公租房客服服务中心办理后续手续,逾期将不予受理。
二、初次办理公租房申请的单位可拨打以下电话与公租房客服中心工作人员联系咨询后续相关办理事宜。(创智汇:88222826;尖山印象:88460511、88460917;麓城印象:88840068)。
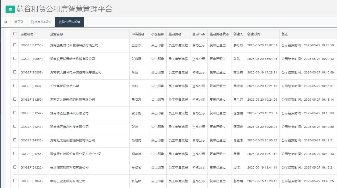
2025.5.21




一、以上申请高新区公租房小区的单位及人员已经通过初审、复审审核,公示时间为7天,请于公示期截止后携带纸质申请表格及申请资料(复印件需加盖公章)到长沙高新区公租房客服服务中心办理后续手续,逾期将不予受理。
二、初次办理公租房申请的单位可拨打以下电话与公租房客服中心工作人员联系咨询后续相关办理事宜。(创智汇:88222826;尖山印象:88460511、88460917;麓城印象:88840068)。
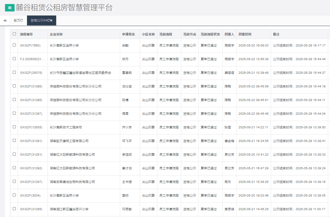
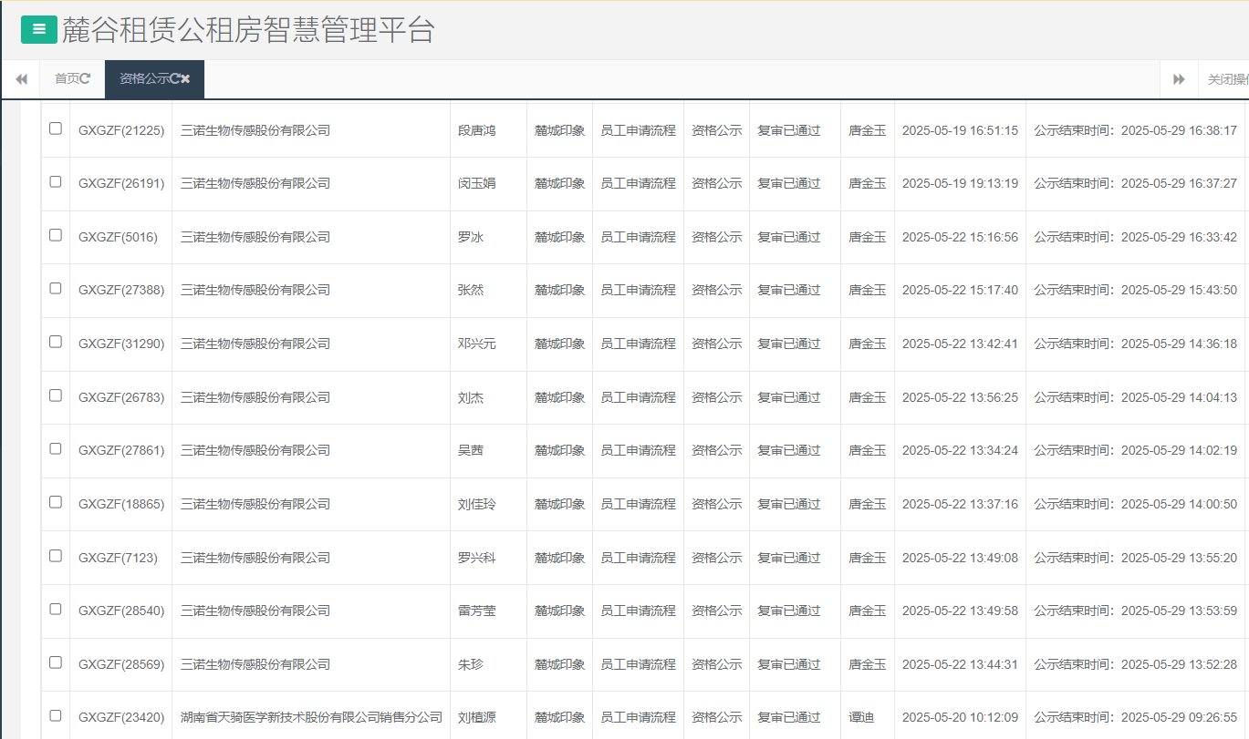
2025.5.22




一、以上申请高新区公租房小区的单位及人员已经通过初审、复审审核,公示时间为7天,请于公示期截止后携带纸质申请表格及申请资料(复印件需加盖公章)到长沙高新区公租房客服服务中心办理后续手续,逾期将不予受理。
二、初次办理公租房申请的单位可拨打以下电话与公租房客服中心工作人员联系咨询后续相关办理事宜。(创智汇:88222826;尖山印象:88460511、88460917;麓城印象:88840068)。
2025.5.23




一、以上申请高新区公租房小区的单位及人员已经通过初审、复审审核,公示时间为7天,请于公示期截止后携带纸质申请表格及申请资料(复印件需加盖公章)到长沙高新区公租房客服服务中心办理后续手续,逾期将不予受理。
二、初次办理公租房申请的单位可拨打以下电话与公租房客服中心工作人员联系咨询后续相关办理事宜。(创智汇:88222826;尖山印象:88460511、88460917;麓城印象:88840068)。